Radiator & Components for 1996 Volkswagen Jetta

Vehicle

1996 Volkswagen Jetta

Change Vehicle

Categories

Browse Categories
Radiator & Components for 1996 Volkswagen Jetta #0 Radiator & Components for 1996 Volkswagen Jetta #1
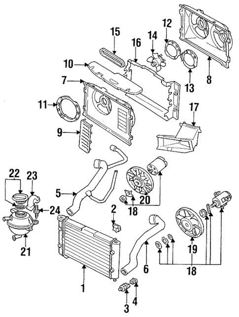
Radiator & Components for 1996 Volkswagen Jetta #0
No.
Part # / Description / Price
Price
1
Radiator
Volkswagen Volkswagen
Notes: PARTS: Order radiator by descripion.
Description: 4 cylinder gas, auto trans, with ac. Without 1.8L, 2.0L, manual trans, without ac. Without 1.8L, 2.0L, auto trans, with ac. Without 1.8L, 1.9L diesel. 628 x 377mm. 4 cylinder diesel.
1
Radiator
Volkswagen Volkswagen
Notes: PARTS: Order radiator by descripion.
Description: Jetta. 2.0l. Auto trans. Golf, GTI. 2.0l.
2
Radiator Mount Bracket
Volkswagen Volkswagen
Description: Without 1.8L. 4 cylinder gas, upper. 6 cylinder. 4 cylinder diesel.
3
Engine Cooling Fan Switch
Volkswagen Volkswagen
$133.38
$133.38
4
Thermo Switch T-Connector
Volkswagen Volkswagen
Description: 2.0L. 4 cylinder gas, housing. 1.8L. 2.8L, 1999-02. 6 cylinder, housing. 4 cylinder diesel.
$46.49
$46.49
7
Fan Shroud
Volkswagen Volkswagen
Notes: PARTS: Order by description.
Description: Without 1.8L, 2.0 & 1.9L, without ac.
8
Fan Shroud
Volkswagen Volkswagen
Notes: PARTS: Order by description.
Description: Without 1.8L, 2.8L. 6 cylinder, 1992-94 with ac, from 31n300001.
9
Vent Louver
Volkswagen Volkswagen
Description: Without 1.8L. Without ac.
10
Upper Cover
Volkswagen Volkswagen
Description: Without 1.8L, 1.9 & 2.0L. Radiator, 4 cylinder. With ac.
11
Guide Channel
Volkswagen Volkswagen
Description: Front. Without ac.
12
Guide Channel
Volkswagen Volkswagen
Positions: Right
Description: Rear. 6 cylinder, 1992-94 with ac, from 31n300001.
13
Guide Channel
Volkswagen Volkswagen
Positions: Left
Description: Rear. 6 cylinder, 1992-94 with ac, from 31n300001.
14
Auxiliary Fan
Volkswagen Volkswagen
Notes: PARTS: Order by description.
Description: Without 1.8L, 1.9 & 2.0L. 4 cylinder, 1990-94 with ac, from 31m033272. 4 cylinder, 1995-97, with ac. For A/C Belt. Belt Driven.
15
Drive Belt
Volkswagen Volkswagen
Description: Without 1.8L, 1.9 & 2.0L. 4 cylinder, gas. 4 cylinder, 1990-94 with ac, from 31m033272.
18
Fan Assembly
Volkswagen Volkswagen
Notes: PARTS: Order by description.
Description: Cabrio. 4 cylinder, 1990-94 without ac. Passat. 4 cylinder. 60 watt. 4 cylinder, 1995-97, without ac. Passat. 6 cylinder. Exc.Air Cond. Incl.Fan Blade. 305mm Fan Diameter.
18
Engine Cooling Fan Motor
Volkswagen Volkswagen
Notes: PARTS: Order by description.
Description: Jetta. 250 watt. For A/C Belt. Incl.Fan Blade. Cabrio. All. Without 1.8L, 2.8L without ac, manual trans. Golf, GTI. 250 watt. Without 1.8L, 1.9L, with ac. Without ac, 4 cylinder, diesel.
19
Engine Cooling Fan Blade
Volkswagen Volkswagen
Notes: PARTS: Order by description.
Description: Without pulley. 4 cylinder, 1990-94 without ac. 4 cylinder, 1995-97, without ac. Passat. 4 cylinder. 4 cylinder, aeg. Exc.Air Cond. 305mm Diameter. Vendor:AEG.
20
Blade
Volkswagen Volkswagen
Notes: PARTS: Order by description.
Description: Without 1.8L, with pulley.
21
Reservoir Tank
Volkswagen Volkswagen
Description: Fuel injection. 4 cylinder. 1.8L. 1.6L. 2.0L.
22
Reservoir Cover
Volkswagen Volkswagen
Description: Without 1.8L. EuroVan. Without ac. 6 cylinder. 4 cylinder diesel.
$54.58
$54.58
23
Reservoir Cap
Volkswagen Volkswagen
Description: Without 1.8L. 4 cylinder gas. 6 cylinder.
24
Reservoir Screw
Volkswagen Volkswagen
Description: Without 1.8L. 4 cylinder gas. 4 cylinder, mounting. 6 cylinder. 4 cylinder diesel.
$9.04
$9.04
Radiator & Components for 1996 Volkswagen Jetta #1
No.
Part # / Description / Price
Price
N/A
Control Module
Volkswagen Volkswagen
Description: Jetta.
1
Radiator
Volkswagen Volkswagen
Notes: Order By Description. Parts & Prices For Estimating Only.
Description: Cabrio. Jetta. 2.0l. Manual trans. Jetta. 2.8l. 628 x 377mm. Golf, GTI. 2.0l. Jetta. 1.9l tdi.
2
Upper Hose
Volkswagen Volkswagen
Description: 4 cylinder gas. Federal. Jetta. 2.0l. Without 1.8L, 2.0L. Cabrio. Exc.Calif. Golf, GTI. 2.0l.
3
Lower Hose
Volkswagen Volkswagen
Description: Jetta. 2.0l. 4 cylinder gas, with ac. Cabrio. Golf, GTI, Jetta. Gas. 2.0l. All. Golf, GTI. 2.0l. Without 1.8L, 1.9L diesel. 4 cylinder diesel, with ac. Jetta. 1.9l tdi.
3
Lower Hose
Volkswagen Volkswagen
Description: Jetta. 2.0l. 4 cylinder gas, without ac. Cabrio. Golf, GTI, Jetta. Gas. 2.0l. Golf, GTI. 2.0l. 4 cylinder diesel, without ac. Jetta. 1.9l tdi.
5
Engine Coolant Thermostat
Volkswagen Volkswagen
MSRP $72.82
$39.32
MSRP $72.82
$39.32
6
Thermostat Housing
Volkswagen Volkswagen
Description: Cabrio. 4 cylinder. Golf, GTI. 2.0l. Golf, GTI, R32. 1.9l tdi. Jetta. 1.9l tdi. Passat. 2.0l.
7
Engine Cooling Fan Motor
Volkswagen Volkswagen
Notes: Order By Description. Parts & Prices For Estimating Only.
Description: Incl.Fan Blade. 280mm Fan Diameter. 100/60 Watt. Exc.Air Cond. Without ac 100/60w. Golf, GTI. 100 watt. All. 100w. To Chassis/VIN 53-G-030 000.
7
Engine Cooling Fan Motor
Volkswagen Volkswagen
Notes: Order By Description. Parts & Prices For Estimating Only.
Description: Jetta. 250 watt. For A/C Belt. Incl.Fan Blade. Cabrio. All. Without 1.8L, 2.8L without ac, manual trans. Golf, GTI. 250 watt. Without 1.8L, 1.9L, with ac. Without ac, 4 cylinder, diesel.
8
Fan Switch
Volkswagen Volkswagen
Description: Convertible, 1.8L. Corrado. Golf, GTI, Jetta. 2 pin. Passat. 6 cylinder. Black, green.
$56.87
$56.87
8
Fan Switch
Volkswagen Volkswagen
Description: Golf, GTI, Jetta. 4 pin. Passat. 6 cylinder. Brown.
Part # / Description / Price
Price
Radiator Mount Bracket
Volkswagen Volkswagen
Description: Without 1.8L. 4 cylinder gas, lower. 6 cylinder. 4 cylinder diesel.
Engine Cooling Fan Blade
Volkswagen Volkswagen
Description: Optional. Bosch. 280mm Diameter.
Engine Cooling Fan Blade
Volkswagen Volkswagen
Description: 280mm Diameter. 80mm diameter, aeg.
Reservoir Cap Seal
Volkswagen Volkswagen
$6.77
$6.77
Radiator Coolant Hose
Volkswagen Volkswagen
Positions: Upper
Description: Calif. Cabrio. All.
Engine Coolant Outlet Gasket
Volkswagen Volkswagen
Description: For 2 Port Outlet. 1.8L. 1.9L. Sedan, without turbocharger.
MSRP $12.62
$5.68
MSRP $12.62
$5.68